El sensor de posición intrínsecamente seguro para minas GUC15 está diseñado según los requisitos de automatización de diversas minas de carbón. Este sensor se utiliza para determinar el estado o la posición de un objeto. Convierte dicho estado o posición en una señal eléctrica mediante la inducción de un interruptor de láminas y un imán, y la envía al circuito de detección del equipo asociado, lo que permite la automatización del dispositivo de control electrónico a través del equipo asociado.
El sensor de posición intrínsecamente seguro para minería deberá poder funcionar normalmente en las siguientes condiciones:
a) Temperatura: 0℃~40℃;
b) Humedad relativa: ≤95 % HR (+25 ℃);
c) Presión atmosférica: 80 kPa ~ 106 kPa;
d) Minas subterráneas de carbón con mezclas explosivas de metano y polvo de carbón pero sin gases corrosivos que puedan dañar el aislamiento.
a) Rango de distancia de acción (mm): 0~15.
b) Forma de contacto de salida: un par de contactos normalmente abiertos.
c) Resistencia de contacto (Ω): ≤0,2.
d) Capacidad de contacto: DC12V/1A
1. Características estructurales
El sensor de posición intrínsecamente seguro para minería consta de dos partes: el interruptor de láminas está sellado en una carcasa con un grado de protección IP54; el imán está fijado en un soporte de montaje de metal.
La entrada del cable está conectada con una tuerca de compresión impermeable.
La señal de estado o posición del objeto se transmite al circuito de detección del equipo asociado en forma de contactos eléctricos.
2. Principio de funcionamiento
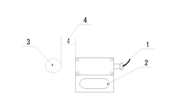
Diagrama de cableado de la estructura y el principio eléctrico del sensor de posición intrínsecamente seguro de mina (ver Figura 1)
El sensor de posición intrínsecamente seguro para minería utiliza la inducción de interruptores de láminas e imanes para convertir el estado abierto/cerrado y la orientación de un objeto en señales eléctricas, que se envían al circuito de detección del equipo asociado, logrando así la automatización del dispositivo de control electrónico junto con el equipo asociado.

1. Cable conductor del sensor de seguridad intrínseca para minería. 2. Orificio de montaje del sensor de posición de seguridad intrínseca para minería (distancia ajustable).
3. Fije el imán en el objeto a detectar (vertical o paralelo al orificio de montaje del sensor de posición intrínsecamente seguro de la mina).
4. Rango de distancia de acción H (mm): 0 ~ 15.
El sensor de posición minera solo se puede utilizar en circuitos intrínsecamente seguros que hayan pasado inspecciones a prueba de explosiones, y no se debe cambiar la longitud del cable utilizado en el circuito original.
La distancia efectiva entre el imán y el sensor de posición intrínsecamente seguro para minería se puede ajustar mediante la distancia desplazable del sensor de posición.
Antes de poner en funcionamiento el sensor de posición intrínsecamente seguro, debe probarse con un imán en el suelo. Si supera la prueba, puede bajarse a la mina y utilizarse junto con el equipo. Tras encender el equipo, el sensor de posición intrínsecamente seguro se pondrá en funcionamiento.
7.1 El producto no debe someterse a vibraciones o impactos severos durante el transporte.
7.2 El producto no debe exponerse al sol ni a la lluvia y debe almacenarse en un almacén con buena circulación de aire y sin gases corrosivos.
a) Certificado del producto;
b) Instrucciones de uso;
c) Lista de embalaje;
d) Lista de accesorios suministrados con la máquina.
9.1 Deberá indicarse claramente la unidad, modelo, especificación, cantidad, etc. de los bienes a solicitar.
9.2 Al realizar un pedido, indique su número de identificación fiscal de empresa, número de cuenta bancaria, número de cuenta, dirección y número de teléfono.
Nota:
La empresa no es responsable de ningún fallo provocado por un uso más allá del rango estándar, uso incorrecto, automodificación, mantenimiento inadecuado, etc., pero puede proporcionar reparaciones o reemplazos pagados.
Si el usuario necesita seleccionar accesorios o piezas relacionadas, la empresa se las proporcionará según los modelos solicitados para garantizar la calidad. Si el usuario las compra o modifica por su cuenta, la empresa no se responsabiliza.
Servicio postventa:
Nuestra empresa implementa tres garantías para cualquier problema de calidad del producto dentro de un año a partir de la fecha de salida de fábrica.




