QXB7.5 Aireador Centrífugo Sumergible de Zanja de Oxidación Nanjing Kepude


【Aireador centrífugo sumergible QXB】Significado del modelo:

【Aireador centrífugo sumergible QXB】Introducción del producto:
El aireador centrífugo sumergible QXB es un aireador autocebante con una estructura de conexión directa. La fuerza centrífuga generada por el impulsor giratorio crea una presión negativa en la entrada del impulsor para aspirar aire y agua, y utiliza la función del impulsor para mezclar una cierta proporción de aire y agua en la cámara de mezcla. Bajo la fuerte fuerza centrífuga, el flujo bifásico de aire y agua se rectifica tangente al impulsor a través del canal de flujo y se difunde circunferencialmente. Las finas y diminutas burbujas se mezclan completamente con el agua, logrando así el efecto de oxigenación y aireación.
【Aireador centrífugo sumergible QXB】Características del producto:
1. Posicionamiento de peso propio, fácil instalación, se puede organizar libremente sin interrumpir la operación del proceso.
2. La estructura de diseño es compacta y la función de autocebado se utiliza sin una fuente de aire externa;
3. La operación de inmersión del motor principal reduce el espacio en el piso y tiene bajo nivel de ruido;
4. Se puede utilizar directamente en estanques de oxidación, ahorrando costos de infraestructura;
5. Dispositivo de aireación movible independientemente, que también tiene función de agitación durante la aireación;
6. El chasis se puede diseñar especialmente según los requisitos del usuario.
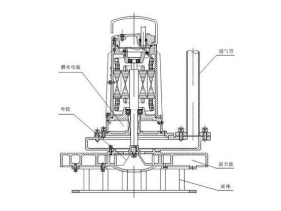
【Aireador centrífugo sumergible QXB】Diagrama de estructura:

【Aireador centrífugo sumergible QXB】Características estructurales:
1. Utilice motores submarinos con tecnología de sellado de motor sumergible importada;
2. El impulsor está conectado directamente al motor, con una estructura simple, alta eficiencia y larga vida útil;
3. Se puede agregar una entrada de agua de malla para evitar que materias extrañas ingresen a la máquina y provoquen daños innecesarios;
4. El volumen de entrada de aire se puede ajustar a través de la válvula de entrada de aire;
5. A excepción del motor, las demás piezas están fabricadas en acero inoxidable, acero al carbono y hierro fundido.
[Aireador centrífugo sumergible QXB] Principio de funcionamiento:
El aireador centrífugo sumergible QXB es accionado directamente por un motor y un impulsor. Utiliza la fuerza centrífuga generada por la rotación del impulsor para desplazar el agua circundante y formar una zona de baja presión que permite la entrada del flujo de agua. Al mismo tiempo, crea un vacío en la entrada del impulsor para la entrada de aire. En la cámara de mezcla, el aire y el agua se mezclan completamente para formar una mezcla uniforme de aire y agua, que se descarga rápidamente gracias a la fuerza centrífuga.
El potente chorro de agua crea una circulación eficaz, que fragmenta el aire en numerosas burbujas diminutas, aumentando considerablemente su superficie. Las burbujas ascienden lentamente, permitiendo que una gran cantidad de oxígeno del aire se disuelva en el agua, lo que hace que el aireador sea más eficiente que otros tipos de aireadores.
【Aireador centrífugo sumergible QXB】Uso del producto:
El aireador centrífugo sumergible QXB se utiliza para tanques de aireación, cámaras de arena de aireación, tanques de pre-aireación, tanques de nitrificación aeróbica, aireación, oxigenación y mezcla, y aireación de estanques de cría en procesos de tratamiento bioquímico en varios proyectos de tratamiento de aguas residuales.
【Aireador centrífugo sumergible QXB】Parámetros de rendimiento:

[Aireador centrífugo sumergible QXB] Selección de diseño:
